
XBD-TSWA卧式多级消防泵产品简介
XBD-TSWA卧式多级消防泵是根据市场对消防泵的实际需要及其特殊的使用要求,严格按照国家最新颁布的GB6245-1998《消防泵性能要求和试验方法》标准而研制开发是新型消防产品。
经国家消防装备质量监督检测中心检测,各项性能指标均达到或超过标准的要求。
XBD系列分为XBD长轴消防泵、 立式多级消防泵和 卧式多级消防泵、 单级卧式消防泵等结构形式以满足用户不同的使用需要。
XBD-TSWA卧式多级消防泵系卧式单吸结构,是最新开发生产的节能系列产品。其性能参数及技术指标符合有关标准,具有效率高、抗汽蚀性能好、运行噪音低、结构合理、使用寿命长等显著优点。
XBD-TSWA卧式多级消防泵全系列共有5个品种40个规格,其性能范围额定流量为5~40L/s,压力范围为0.18~2.0MPa,配套功率范围为2.2~180kW,口径范围为φ50~φ150mm。
XBD-TSWA卧式多级消防泵组可供输送不含固体颗粒的清水及物理化学性质类似于水的液体之用。主要用于消防系统增压送水、锅炉冷暖水循环增压、也可应用于厂矿给排水、远距离送水、高层建筑增压送水、浴室、采暖、空调制冷系统送水及设备配套等场合。
XBD-TSWA卧式多级消防泵型号意义
例:XBD5.0/5-50DL
XB:固定式消防泵
D:电动机驱动
5.0:出口压力为5公称(kg/cm?)
5:流量5(L/S)
50:吸入口直径50(mm)
DL:DL立式多级消防泵;LD立式多级消防泵便拆式消防泵;LS立式单极单吸消防泵;TSWA卧式多级消防泵;WS卧式单极单吸消防泵
XBD-TSWA卧式多级消防泵产品特点
1、泵结构紧凑,体积小,外形美观,占地面积小,节省建筑费用;
2、泵的转子部件由两端的滚动轴承支撑,泵运行平稳;
3、泵的进口为水平方向,出口为垂直向上布置,简化管路;
4、泵的电机为卧式结构,便于维修。
XBD-TSWA卧式多级消防泵为多级单吸离心泵,安装形式为卧式。
可根据现场使用条件、多方式安装。并依赖流量、扬程要求采用并、串联方式增加所需流量、扬程。
轴承采用低噪音封闭,出厂时已注入润滑脂,可保证连续运行两年以上.且组件同心度高,泵叶轮具有极好的动平衡,运行无振动,改善了使用环境.
泵轴封为机械密封,解决了常规离心泵填料的严重渗漏,增加了使用寿命,确保运行场地干净整洁。
泵转动时可能产生摩擦的零件均采用耐磨,耐腐蚀及高抗咬合的材料组合以确保运行可靠,降低噪声,同时避免产生锈水,堵塞喷淋等消防器件,大大延长了使用寿命和停机后生锈咬死现象。
XBD-TSWA卧式多级消防泵产品用途
XBD-TSWA卧式多级消防泵适用于消防管道增压送水,供输送清水或物理化学性质类似于清水的其它液体进行增压之用。使用介质温度不超过80℃,适用于工业和城市给排水、远距离送水、高层建筑增压送水、采暖、园林喷灌,浴室等冷暖水循环增压及设备配套等。

XBD-TSWA卧式多级消防泵使用条件
1、适合于输送清水及物理化学性质类似于清水的物质,其固体不溶物体积不超过单位体积0.1%,粒度≤2mm
2、介质温度:-15℃~80℃;
3、工作压力:系统压力≤3.0MPa;(即:系统压力=入口压力+泵工作时的压力≤3.0MPa)
4、周围环境温度应低于40℃,相对湿度低于95%;
5、由于本型泵主要部件均为铸铁材质,因此所输送介质应无强腐蚀性。
注:如介质带有细小颗粒或具强腐蚀性时,请在订货时说明,以便提供更为可靠之产品。
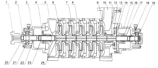
XBD-TSWA卧式多级消防泵结构说明
1、XBD-TSWA卧式多级消防泵为单级多级节段式结构,其吸入口为水平方向,吐出口为垂直向上布置,设有50、75、100、125、150等口径,用户根据流量、扬程的需求选择不同品径和级数的泵来得到满足;
2、本型泵主要由进水段、中段、导叶、叶轮、出水段及轴承体部件、密封部件等组成,其结构设计合理;
3、泵的转子部件由中碳钢轴、铸铁叶轮、平衡盘及轴套等组成,转子两端支承在干油润滑的滚动轴承上,由于叶轮极好的动静平衡及平衡盘的水力平衡作用,使得泵运行起来十分平稳,且噪声低、振动小。
4、进水段、中段及出水段的结合面用纸垫通过拉紧螺栓拉紧达到密封,为防止液体从两端主轴泄漏,设软填料轴封,同时在轴上装有橡胶挡水圈、O型橡胶密封圈,以防水是入轴套腔内;
5、为防止中段和导叶磨损,特设叶轮密封环及导叶套等易损零件,当叶轮与这些易损件之间的间隙超过规定值时应予以列换;
6、泵与电动机同时装在公用的铸铁底座上,其扭矩通过弹性联轴器来传递。
XBD-TSWA卧式多级消防泵结构示意图

联系电话:13968970509



